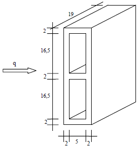
Uma parede externa de uma casa é composta por blocos de concreto sem reboco, colados uns sobre os outros. Cada bloco possui a forma e dimensões apresentadas na figura abaixo.
Dados:
Rsi = Resistência superficial interna
Rse = Resistência superficial externa

Sabendo-se que a resistência térmica do bloco é Rbloco= 0,11 m2K/W, e que Rsi = 0,09 m2K/W e Rse= 0,05 m2K/W, qual o valor correto da transmitância?
Provas
Questão presente nas seguintes provas
Professor PEBTT - Refrigeração e Climatização
40 Questões