1432921
Ano: 2007
Disciplina: Engenharia Ambiental e Sanitária
Banca: CESGRANRIO
Orgão: INEA-RJ
Disciplina: Engenharia Ambiental e Sanitária
Banca: CESGRANRIO
Orgão: INEA-RJ
Provas:

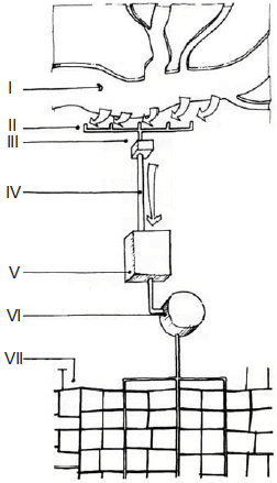
MASCARO, Juan L. e YOSHINAGA, Mário. Infra-Estrutura Urbana. Porto Alegre: Editora +4. 2005.
A imagem acima representa o esquema de uma rede de abastecimento de água e as diferentes etapas e/ou elementos que garantem o funcionamento do sistema.
Estes elementos do sistema correspondem a: