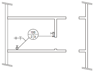
Atenção: Considere a figura abaixo para responder a questão.

As legendas S e
representam, respectivamente,
Provas
Questão presente nas seguintes provas
Técnico do Ministério Público - Edificações
60 Questões