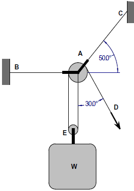
O cabo e o sistema de polias mostrados são utilizados por um campista para elevar uma mochila para o alto de uma árvore, mantendo-a fora do alcance de animais. Se os cabos AB e AC suportam 900N e o cabo DAE suporta 450N, então o maior peso W que pode ser levantado é de 698,787N.
