Magna Concursos
Questões
Planos
Entrar
Entrar
Criar Conta
Respondida
2835219
Ano:
2023
Disciplina:
Engenharia Eletrônica
Banca:
FUNDATEC
Orgão:
IF-SC
Provas:
Professor PEBTT - Sistemas de Controle
Provas
×
Análise de Sistemas Lineares
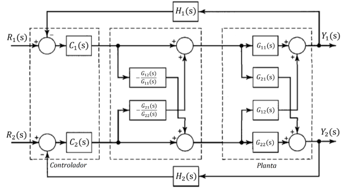
Assinale a alternativa que corresponde à estratégia de controle multivariável para o sistema MIMO com duas entradas e duas saídas mostrada na Figura 12 abaixo:
Figura 12
A
Controle multivariável com restrição.
B
Controle multivariável via realimentação de estados.
C
Controle multivariável adaptativo.
D
Controle multivariável preditivo.
E
Controle multivariável via desacopladores.
Resolver
Comentários
0
×
Cadernos
×
Flashcards
×
Estatísticas
×
Reportar um erro
×
Provas
Questão presente nas seguintes provas
Professor PEBTT - Sistemas de Controle
50 Questões
Resolver Prova
Publicar
Responder
Qual o problema da questão?
Selecione uma opção
Questão Desatualizada
Questão Repetida
Gabarito Errado
Outros Motivos
Mensagem
Enviar
Acessar
Criar Conta
Acesse sua Conta
Google
Facebook
Esqueci minha senha
Acessar
Ainda não tem conta?
Crie uma
!
Crie uma Conta
Criar Conta
Olá, para continuar, precisamos criar uma conta!
É
rápido
e
grátis
.
Google
Facebook
Concordo com os
Termos de Uso
Criar
Já tem uma conta?
Acesse aqui