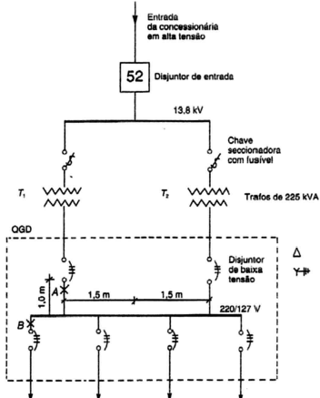
p>A figura a seguir mostra o diagrama unifilar de uma subestação, destacando-se o quadro geral de distribuição (QGD) dentro da área tracejada no diagrama.

Hélio Creder. Instalações Elétricas. LTC, 14.ª ed., 2000, p. 409.
Com base nas informações acima, julgue os itens subseqüentes.
O disjuntor de entrada, no lado de alta tensão, tem a função exclusiva de proteger as cargas contra descargas atmosféricas.
Provas
Questão presente nas seguintes provas