
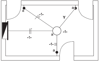
A figura acima mostra parte do diagrama unifilar do projeto elétrico de uma residência. O ponto de luz “a” é alimentado pelo circuito -1- e pode ser acionado de três interruptores diferentes, conforme indicado na figura.
A representação dos condutores do circuito -1- que passam pelo eletroduto Y é
Provas
Questão presente nas seguintes provas