Magna Concursos
87260 Ano: 2006
Disciplina: Engenharia Mecânica
Banca: CESGRANRIO
Orgão: Transpetro
Provas:

Enunciado 3571248-1

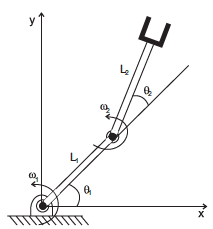
Considere o manipulador robótico com dois braços, duas juntas rotacionais com velocidades constantes !$ ( \omega_1 \,\, e \,\, \omega_2) !$ e uma garra, em uma configuração !$ (\theta_1 \,\, e \,\, \theta_2) !$ qualquer.

É correto afirmar que, nesse sistema, a(s) aceleração(ões):

 

Provas

Questão presente nas seguintes provas

Engenheiro Mecânico Jr

40 Questões