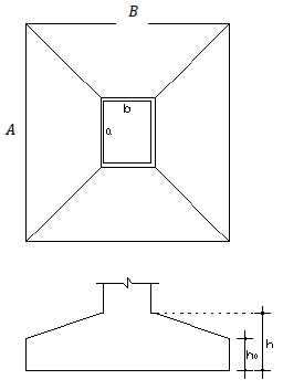
Considere uma sapata isolada em concreto armado, cujo volume se constitui de uma base prismática retangular e um tronco de pirâmide em sobreposição, conforme representado na figura abaixo.

Sabendo que a sapata considerada tem as seguintes dimensões: A = 3,00 m; B = 2,00 m; a = 0,65 m; b = 0,30 m; ho = 0,25 m; h = 0,50 m; e que
VTRONCO DE PIRÂMIDE é igual a
!$ 1/3 \times (h-h_0) \times \{A_{ab}+\sqrt{(A_{ab} \times A_{AB})}+A_{AB}\} !$
VPRISMA DA BASE = !$ (A_{AB} \times h_0) !$;
VTOTAL = VTRONCO DE PIRÂMIDE + V PRISMA DA BASE;
!$ A_{ab} \rightarrpw !$ área da base ab e !$ A_{AB} \rightarrow !$ área da base AB,
pode-se afirmar corretamente que o volume do sólido regular representado pela sapata é