Magna Concursos
806904 Ano: 2014
Disciplina: Engenharia Mecânica
Banca: CESPE / CEBRASPE
Orgão: FUB
Provas:

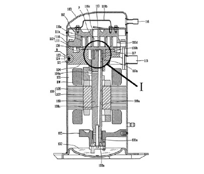
enunciado 806904-1

Considerando a figura acima, retirada de um catálogo técnico de um fabricante de compressores, julgue os itens de 98 a 101.

Em relação ao seu projeto de carcaça, o compressor mostrado é do tipo semi-hermético.
 

Provas

Questão presente nas seguintes provas