3216490
Ano: 2016
Disciplina: Segurança e Saúde no Trabalho (SST)
Banca: FUNDATEC
Orgão: UNIPAMPA
Disciplina: Segurança e Saúde no Trabalho (SST)
Banca: FUNDATEC
Orgão: UNIPAMPA
Provas:
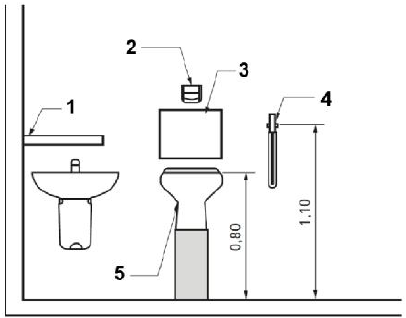
De acordo com a NBR 9.050/2015, assinale a alternativa correta em que os números correspondem aos elementos representados na vista frontal de um sanitário para uso de pessoa ostomizada.
