Magna Concursos
2841509 Ano: 2022
Disciplina: Engenharia Civil
Banca: FGV
Orgão: POLITEC-AP

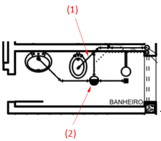
A figura a seguir apresenta a instalação sanitária do banheiro de uma edificação.

Enunciado 3553161-1

O coletor identificado por (2) na instalação proposta é denominado
 

Provas

Questão presente nas seguintes provas