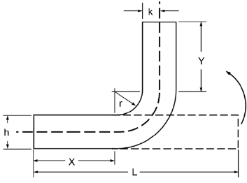
Uma chapa de comprimento L e espessura h é dobrada a 90º, conforme a Figura abaixo.

A medida k é calculada usando-se a seguinte expressão:
!$ k= \large {2(L-Y-X)-r \over \pi} !$
Ao valor da medida k corresponde a distância da face superior da chapa à linha onde não há qualquer deformação, denominada linha