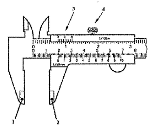
Na figura abaixo, as partes 1, 2, 3 e 4 do paquímetro são, respectivamente:

Provas
Questão presente nas seguintes provas
Corpo Auxiliar de Praças - Estruturas Navais
50 Questões
Na figura abaixo, as partes 1, 2, 3 e 4 do paquímetro são, respectivamente:
