
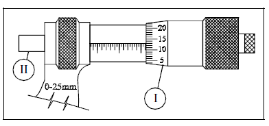
A figura acima apresenta um micrômetro utilizado para medições na faixa de espessuras de 0 mm a 25 mm. Foram feitas algumas medições para determinar a espessura de chapas. Com referência ao projeto do micrômetro e às medições realizadas, julgue os itens a seguir.
A resolução desse micrômetro é de 0,1 mm.