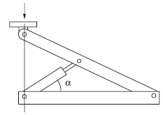
Um equipamento como os de elevação de veículos, esquematizado abaixo, admite uma carga máxima de 4 kN.

A posição da figura mostra o mínimo ângulo \( \alpha \) que equivale a 30°. Como o diâmetro do êmbolo do atuador hidráulico é de 40 mm, a pressão do óleo, em MPa, não pode ser regulada abaixo de