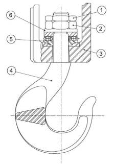
Analise a figura a seguir, que representa um conjunto de um gancho.

Nesse desenho, a peça número 5 é um rolamento:
Provas
Questão presente nas seguintes provas
Analise a figura a seguir, que representa um conjunto de um gancho.

Nesse desenho, a peça número 5 é um rolamento: