Magna Concursos
634476 Ano: 2008
Disciplina: Mecânica de Autos
Banca: FCC
Orgão: METRO-SP
Provas:

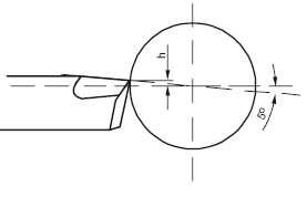
A figura abaixo mostra a posição de ataque de uma ferramenta para o torneamento de uma peça.

enunciado 634476-1

A altura da ferramenta de corte em relação ao eixo geométrico do torno é recomendada no processo de

 

Provas

Questão presente nas seguintes provas

Mecânico - Manutenção

50 Questões