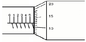
A figura abaixo mostra as escalas de leitura de um micrômetro, aparelho bastante útil para medidas precisas das dimensões de pequenos objetos. O princípio de funcionamento deste aparelho consiste na divisão da escala principal (milimétrica) do instrumento em uma escala angular (vernier) de maior precisão, de tal forma que duas voltas completas do tambor correspondem a um avanço de 1 milímetro no parafuso micrométrico. A escala angular do tambor contém 50 subdivisões, de tal forma que cada subdivisão menor do aparelho corresponde a uma fração de!$ (0.5/50) mm = 0.01 mm = 10 \mu m !$. Com base na figura abaixo, o melhor valor da medida do comprimento do objeto analisado com este micrômetro será igual a:
