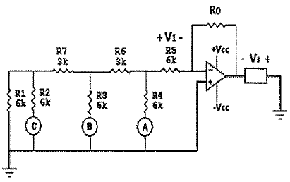
Analise o circuito ilustrado abaixo.

Esse circuito pode ser descrito como:
Provas
Questão presente nas seguintes provas
Corpo Auxiliar de Praças - Telecomunicações
50 Questões
Analise o circuito ilustrado abaixo.

Esse circuito pode ser descrito como: