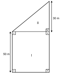
A figura representa o terreno I, de formato retangular, cuja área é 2000 m2 , e o terreno II, com a forma de um triângulo retângulo, que foram unidos para a construção de um condomínio.

O perímetro do terreno único formado com a junção dos terrenos I e II é igual a
Provas
Questão presente nas seguintes provas
Assistente de Informática
60 Questões
Contador
60 Questões