Magna Concursos
Questões
Planos
Entrar
Entrar
Criar Conta
Respondida
2901096
Ano:
2013
Disciplina:
Engenharia Mecânica
Banca:
CESPE / CEBRASPE
Orgão:
INPI
Provas:
Analista de Planejamento - Engenharia Mecânica
Provas
×
Sistemas Termomecânicos
Refrigeração e Climatização
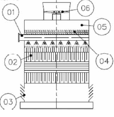
A figura acima ilustra, esquematicamente, uma torre de resfriamento com suas partes principais. Considerando a torre mostrada, julgue o item.
A torre é de tiragem forçada, com escoamento cruzado.
C
Certo
E
Errado
Resolver
Comentários
0
×
Cadernos
×
Flashcards
×
Estatísticas
×
Reportar um erro
×
Provas
Questão presente nas seguintes provas
Analista de Planejamento - Engenharia Mecânica
120 Questões
Resolver Prova
Publicar
Responder
Qual o problema da questão?
Selecione uma opção
Questão Desatualizada
Questão Repetida
Gabarito Errado
Outros Motivos
Mensagem
Enviar
Acessar
Criar Conta
Acesse sua Conta
Google
Facebook
Esqueci minha senha
Acessar
Ainda não tem conta?
Crie uma
!
Crie uma Conta
Criar Conta
Olá, para continuar, precisamos criar uma conta!
É
rápido
e
grátis
.
Google
Facebook
Concordo com os
Termos de Uso
Criar
Já tem uma conta?
Acesse aqui