Magna Concursos
78296 Ano: 2005
Disciplina: Engenharia Mecânica
Banca: CESGRANRIO
Orgão: Petrobrás

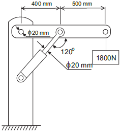
Observe a figura abaixo que representa um guincho composto por uma coluna, uma lança, um atuador hidráulico e pinos nas articulações.

Enunciado 3322077-1

Qual a tensão de cisalhamento, devida a esforço cortante, em MPa, no pino entre a coluna e a lança?

 

Provas

Questão presente nas seguintes provas

Técnico de Manutenção - Caldeiraria

70 Questões