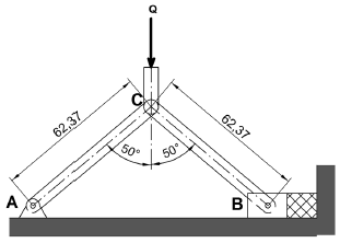
Sabendo-se que a haste CB exerce no bloco B uma força P dirigida ao longo da reta CB e tal que P tem uma componente horizontal de 200N, pode-se concluir que a carga Q é de 261.081 Newtons.

Sabendo-se que a haste CB exerce no bloco B uma força P dirigida ao longo da reta CB e tal que P tem uma componente horizontal de 200N, pode-se concluir que a carga Q é de 261.081 Newtons.
