Magna Concursos
479114 Ano: 2013
Disciplina: Engenharia Civil
Banca: FCC
Orgão: TRT-18
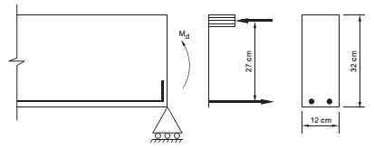
Uma viga de concreto armado com seção retangular de 12 cm por 32 cm está submetida ao momento fletor de cálculo de 23,48 kNm. O cálculo da profundidade da linha neutra, com o tipo de concreto utilizado, levou à determinação do braço de alavanca de 27 cm, como mostrado na figura.
Enunciado 479114-1
Se o aço da armadura de flexão tiver resistência de cálculo ao escoamento de 434,80 MPa, a área de armadura, em cm2 , é
 

Provas

Questão presente nas seguintes provas

Analista Judiciário - Engenharia Civil

60 Questões