
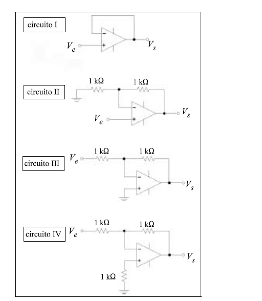
Para cada circuito de I a IV mostrado acima, Ve representa a tensão de entrada e Vs, a tensão de saída. Supondo que os amplificadores operacionais comportam-se de forma ideal, é correto afirmar que, para o
circuito II, Vs = Ve /2.

Para cada circuito de I a IV mostrado acima, Ve representa a tensão de entrada e Vs, a tensão de saída. Supondo que os amplificadores operacionais comportam-se de forma ideal, é correto afirmar que, para o
circuito II, Vs = Ve /2.