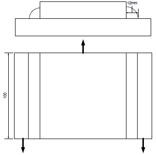
A figura abaixo representa duas chapas de aço com espessura de 12 mm, soldadas através de dois filetes convexos. Sobre as chapas atuam três forças indicadas por setas. O sistema está em equilíbrio estático. As chapas têm larguras de 50 e 70 mm. A largura de cada filete é 12 mm e o comprimento 100 mm. O aço da chapa superior tem limite de escoamento de 210 MPa e o da chapa inferior, 350 MPa. O metal da solda tem limite de escoamento de 320 MPa. O limite de escoamento ao cisalhamento de cada material é sessenta por cento do limite de escoamento à tração e a união deve ser dimensionada com fator de segurança 2,0 sobre o limite de escoamento, à tração ou ao cisalhamento, conforme for o caso.
Duas placas soldadas

Qual o valor limite da força aplicada à chapa superior, para que a união permaneça segura?