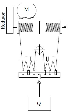
Analise o seguinte desenho de uma máquina de elevação de cargas.

Despreze as inércias e o regime transiente da partida.
Considere: !$ π !$= 3,14 ; 1 Kgf = 10 N; e 1CV = 750W.
sendo dados:
- carga a ser içada. Q = 36 tf
- velocidade de ascensão da carga. v= 1 m/min
- rendimento do tambor e das roldanas !$ η !$t= !$ η !$r = 100% (P/ efeito de cálculo)
- rendimento do redutor !$ η !$R= 80%
- relação de transmissão do redutor i= 540
- diâmetro primitivo de enrolamento do tambor Dp= 600 mm
Arredondando os resultados finais para o inteiro mais próximo, calcule, para condição de regime normal de trabalho:
!$ \bullet !$ a rotação nm (em rpm)
!$ \bullet !$ a potência Pm (em cv)
!$ \bullet !$ o torque Tm (em Nm) do motor “M”
Assinale a alternativa que apresenta correta e respectivamente o que se pede acima.