As instalações prediais de água fria possuem diversos componentes. Considerando a figura, identifique os componentes de 1 a 6.

AZEVEDO NETO, M. F. Fernandez, R. Araujo, A. E. Ito. Manual de Hidráulica. São Paulo, Edgard Blucher, 1998 8ª ed. 669p.
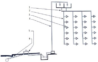
As instalações prediais de água fria possuem diversos componentes. Considerando a figura, identifique os componentes de 1 a 6.

AZEVEDO NETO, M. F. Fernandez, R. Araujo, A. E. Ito. Manual de Hidráulica. São Paulo, Edgard Blucher, 1998 8ª ed. 669p.