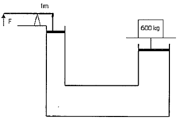
Observe a figura a seguir.

O sistema representa um macaco hidráulico, cujas áreas dos êmbolos são 30 cm2 e 60 cm2. Sabe-se que o ponto de apoio está situado a 1m do êmbolo menor. Desprezando o peso da barra e considerando g = 10m/s2, qual deve ser o módulo da força F, em newtons, aplicada sobre a barra de comprimento total igual a 4m, para que o sistema fique em equilíbrio?