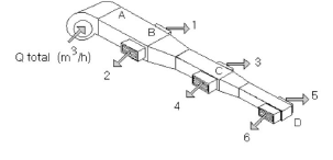
Um projetista da área de climatização necessita dimensionar uma rede de dutos de ar condicionado, conforme esquema ilustrado ao lado. Ele pretende utilizar o método da velocidade arbitrária, conforme recomendação NBR – 6401. Para tal, fixou a velocidade do ar em 4 m/s em todos os trechos da rede. Considerando as limitações de pé-direito do prédio, a altura da secção transversal dos dutos será para o trecho AB de 40 cm, para o trecho BC de 30 cm e para o trecho CD de 20 cm. A vazão de cada boca de insuflamento será de 1050 m³/h.

Nessas condições, podemos afirmar que as larguras das secções transversais dos trechos AB, BC e CD (sendo utilizados para isso arredondamentos de 5 cm) são, respectivamente:
Provas
Questão presente nas seguintes provas
Professor PEBTT - Processos Industriais/Área 12
40 Questões