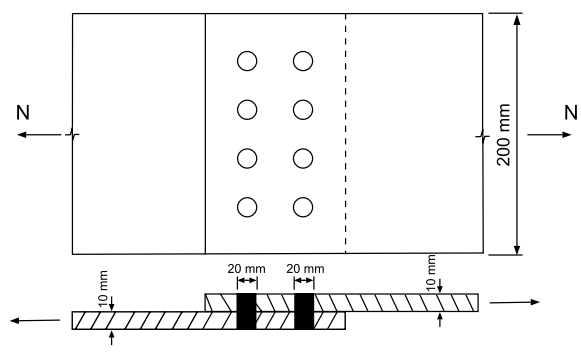
As duas chapas de aço com 200 mm de largura e 10 mm de espessura da figura a seguir estão emendadas por traspasse, com 8 parafusos de 20 mm de diâmetro, cujos furos foram realizados por punção.

(Arquivo pessoal; imagem usada com autorização)
Ao se aplicar nessas chapas uma força de tração de 212 kN, a tensão característica de tração nas chapas é