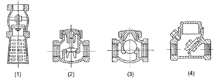
Observe as quatro (4) válvulas abaixo.

Todas estas válvulas são do mesmo tipo.
Marque a opção que apresenta o tipo correto delas e a denominação de cada uma.
Provas
Questão presente nas seguintes provas
Corpo Auxiliar de Praças - Desenho Mecânico
50 Questões