
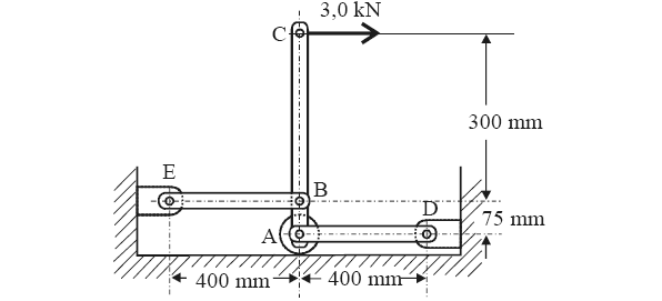
Considerando que o dispositivo esquematizado na figura acima
seja feito de barras de aço carbono com seção transversal de
5 mm × 20 mm e módulo de elasticidade de 200 GPa, julgue os
itens subsequentes.
A deflexão da barra BE é menor que 1 mm.
Provas
Questão presente nas seguintes provas