Magna Concursos
1905420 Ano: 2009
Disciplina: Engenharia Mecânica
Banca: FGV
Orgão: PC-RJ

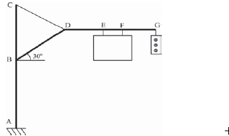
Um semáforo característico no centro da cidade do Rio de Janeiro é mostrado na figura abaixo. Além de suspender o equipamento de sinalização de trânsito com as três cores características (vermelha, amarela e verde), pesando 30kg, também suspende placas de localização por cabos, as quais pesam em média 15kg. As barras de suporte são de alumínio com proteção superficial e cilíndricas, geralmente, com diâmetro interno de 100mm e externo de 120mm, e há também um cabo de aço de sustentação CD de 1,0 metro, com 15mm de diâmetro. Pede-se determinar o esforço axial do cabo CD para que o semáforo esteja em equilíbrio estático. Presume-se que os comprimentos sejam: AB = 2,5 m, BC = 1,0 m, BD = 1,0 m, DE = 1,0 m, EF = 0,6 m, FG = 0,8 m, a aceleração da gravidade 10m/s2 e que ventos não sejam observados.

enunciado 1905420-1

 

Provas

Questão presente nas seguintes provas

Perito Criminal - Engenharia Mecânica

60 Questões