Magna Concursos
214348 Ano: 2018
Disciplina: Engenharia Elétrica
Banca: UECE
Orgão: DETRAN-CE

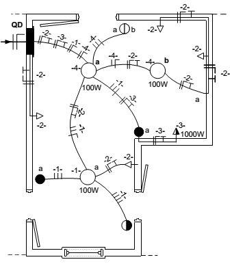
Analise o seguinte diagrama unifilar:

enunciado 214348-1

Considerando o diagrama unifilar acima, é correto afirmar que

 

Provas

Questão presente nas seguintes provas