Observe a figura abaixo que representa um guincho composto por uma coluna, uma lança, um atuador hidráulico e pinos nas articulações.

Qual a tensão normal, devido à compressão, em MPa, na haste do atuador hidráulico?
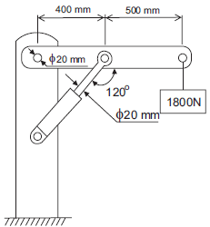
Observe a figura abaixo que representa um guincho composto por uma coluna, uma lança, um atuador hidráulico e pinos nas articulações.

Qual a tensão normal, devido à compressão, em MPa, na haste do atuador hidráulico?