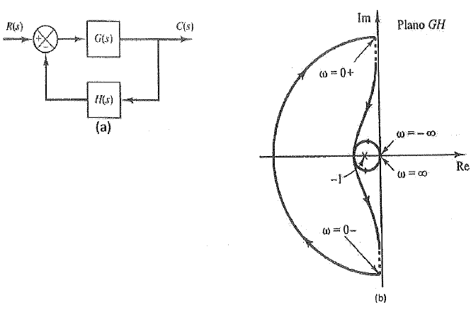
Analise a figura a seguir.

Considere que a figura (a) representa o sistema de malha fechada e que a figura (b) representa o diagrama de Nyquist desse sistema que indica que o ponto -1 +j0 é envolvido pelo lugar geométrico de G ( S) H (S) uma vez. Determine o número de polos que G(S)H(S) deve ter no semiplano direito do plano S, para o sistema ser estável e assinale a opção correta,