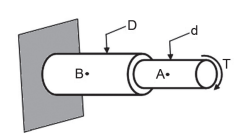
Um eixo maciço possui dois trechos com diâmetros
D e d, conforme representado na Figura. A tensão cisalhante máxima devida à torção é calculada pela expressão t = TR/J, onde J é o momento polar da seção
transversal (J = π.R4/2).
Considere que o eixo está sob ação do torque T, e seus diâmetros estão na relação D/d = 1,2.
A relação entre as tensões cisalhantes tA/tB, atuantes nas superfícies dos dois trechos do eixo, nos pontos A e B, é
Considere que o eixo está sob ação do torque T, e seus diâmetros estão na relação D/d = 1,2.
A relação entre as tensões cisalhantes tA/tB, atuantes nas superfícies dos dois trechos do eixo, nos pontos A e B, é
Provas
Questão presente nas seguintes provas
Técnico - Inspeção de Equipamentos e Instalações
60 Questões