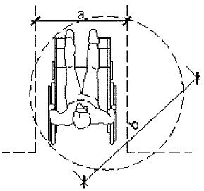
Analise a figura a seguir.

Para atender às condições de acessibilidade plena aos usuários portadores de necessidades especiais, em ambientes de acesso ao público, as medidas mínimas para a e b, apresentadas na figura acima, deverão ser, respectivamente:
Provas
Questão presente nas seguintes provas