Magna Concursos
2560873 Ano: 2018
Disciplina: Engenharia Naval
Banca: Marinha
Orgão: Marinha

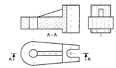
Observe as figuras a seguir.

Enunciado 3390052-1

Com base nas figuras acima, assinale a opção que apresenta a nomenclatura do corte A - A

 

Provas

Questão presente nas seguintes provas

Corpo Auxiliar de Praças - Estruturas Navais

50 Questões