3373549
Ano: 2024
Disciplina: Serviços Gerais
Banca: OBJETIVA
Orgão: Pref. Santa Leopoldina-ES
Disciplina: Serviços Gerais
Banca: OBJETIVA
Orgão: Pref. Santa Leopoldina-ES
Provas:
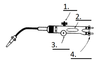
A imagem abaixo mostra uma máquina de soldar, com suas partes numeradas de 1 a 4. Com base nisso, assinalar a alternativa que apresenta, respectivamente, os nomes dessas partes.
