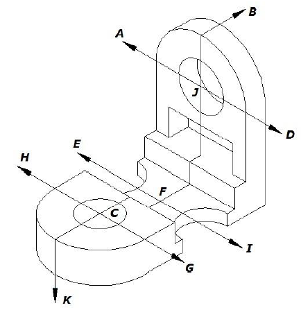
Observe a seguinte perspectiva isométrica. Letras de A a K representam extremidades ou intersecções de possíveis linhas de corte.

Assinale a alternativa que apresenta a linha de corte CORRETA para essa peça.
Observe a seguinte perspectiva isométrica. Letras de A a K representam extremidades ou intersecções de possíveis linhas de corte.

Assinale a alternativa que apresenta a linha de corte CORRETA para essa peça.