
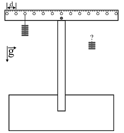
A figura apresentada ilustra um experimento acerca de equilíbrio de corpos rígidos, no qual uma régua, cujos furos estão a uma distância igual a d, é colocada sobre uma base de tal maneira que possa girar, sem atrito, em torno do próprio ponto central. A partir desse ponto, um conjunto de 6 moedas empilhadas, de massa m cada, é colocado a uma distância de 4 d. A régua é homogênea, e o peso da linha que segura as moedas é desprezível.
Com base nessas informações e na figura precedente, julgue o item a seguir.
A posição em que deve ser colocado o conjunto de 4 moedas para que o sistema esteja em equilíbrio é igual a 6 d, à direita do ponto central.
Provas
Questão presente nas seguintes provas