Magna Concursos
2271131 Ano: 2012
Disciplina: Engenharia Eletrônica
Banca: UFSCAR
Orgão: UFSCAR
Provas:

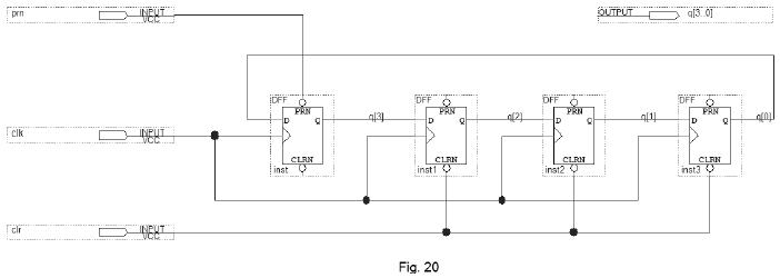
Em relação ao circuito apresentado na figura 20, é correto afirmar que:

Enunciado 2945638-1

 

Provas

Questão presente nas seguintes provas

Técnico em Eletrônica

60 Questões