Magna Concursos
Questões
Planos
Entrar
Entrar
Criar Conta
Respondida
2518856
Ano:
2016
Disciplina:
Engenharia Civil
Banca:
UFPel
Orgão:
UFPel
Provas:
Contra Mestre Ofício
Provas
×
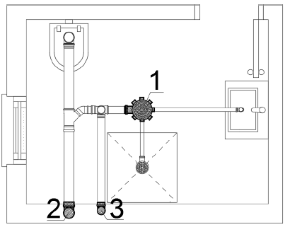
A figura abaixo representa as instalações de esgoto sanitário de um banheiro situado no 3º andar de um condomínio.
Os elementos 1, 2 e 3 indicam, respectivamente,
A
1 – Caixa Sifonada; 2 – Coluna de Ventilação; 3 – Tubo de Queda.
B
1 – Ralo Seco; 2 – Coluna de Ventilação; 3 – Tubo de Queda.
C
1 – Caixa Sifonada; 2 – Tubo de Queda; 3 – Coluna de Ventilação.
D
1 – Caixa de Inspeção; 2 – Tubo de Queda; 3 – Extravasor.
E
1 – Ralo Seco; 2 – Tubo de Queda; 3 – Extravasor.
Resolver
Comentários
0
×
Cadernos
×
Flashcards
×
Estatísticas
×
Reportar um erro
×
Provas
Questão presente nas seguintes provas
Contra Mestre Ofício
40 Questões
Resolver Prova
Publicar
Responder
Qual o problema da questão?
Selecione uma opção
Questão Desatualizada
Questão Repetida
Gabarito Errado
Outros Motivos
Mensagem
Enviar
Acessar
Criar Conta
Acesse sua Conta
Google
Facebook
Esqueci minha senha
Acessar
Ainda não tem conta?
Crie uma
!
Crie uma Conta
Criar Conta
Olá, para continuar, precisamos criar uma conta!
É
rápido
e
grátis
.
Google
Facebook
Concordo com os
Termos de Uso
Criar
Já tem uma conta?
Acesse aqui