
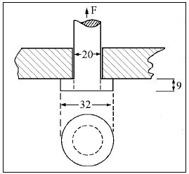
A figura acima mostra o esquema de uma montagem na qual um parafuso de 20 mm de diâmetro passa através de uma chapa e é submetido a uma carga de tração F. Acerca desse esquema, das falhas e dos possíveis escoamentos, julgue o item subseqüente.
Aplicando a teoria da máxima tensão cisalhante (teoria de Tresca), a falha ocorrerá por cisalhamento da cabeça do parafuso.
Provas
Questão presente nas seguintes provas
Analista Legislativo - Engenharia Mecânica
200 Questões