A respeito do conforto ambiental, acústico, luminoso e térmico, julgue os itens a seguir.
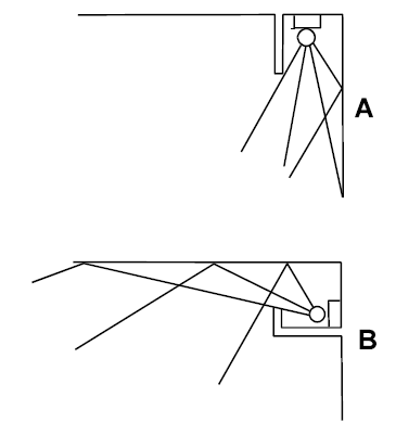
Considerando que os 2 ambientes retangulares representados abaixo tenham medidas e áreas iguais e sejam construídos com o mesmo material de revestimento e com paredes pintadas na mesma cor, é correto afirmar que o ambiente A terá um coeficiente de iluminação maior que o de B.
