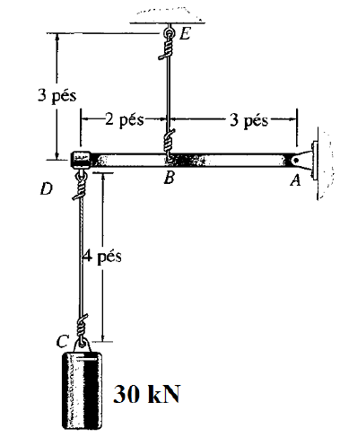
Observe a figura que ilustra a montagem de uma barra horizontal ABD que sustenta um
peso de 30 kN na extremidade D por meio de um cabo CD. A barra se encontra suspensa
por um mancal em A e um cabo BE.

Considerando a área do cabo BE 0,002 m2 , a tensão de tração atuante nele é:

Considerando a área do cabo BE 0,002 m2 , a tensão de tração atuante nele é:
Provas
Questão presente nas seguintes provas