Magna Concursos
187175 Ano: 2018
Disciplina: Engenharia Civil
Banca: FCC
Orgão: SABESP

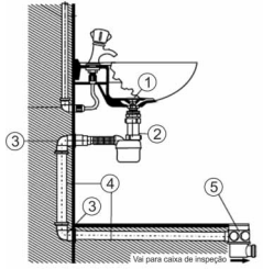
Considere a representação gráfica das peças hidráulicas abaixo.

Enunciado 187175-1

Os números no desenho referem-se respectivamente a:

 

Provas

Questão presente nas seguintes provas

Oficial de Manutenção - Construção Civil

40 Questões